Кран E7 – Інформаційний лист:
| Технічні характеристики | Метрична система | Імперська система |
|---|---|---|
| Статичний момент на осі обертання | 229500 daN/m | 1660295 lbs/ft |
| Гідравлічний виліт | 18660 mm | 61'3" |
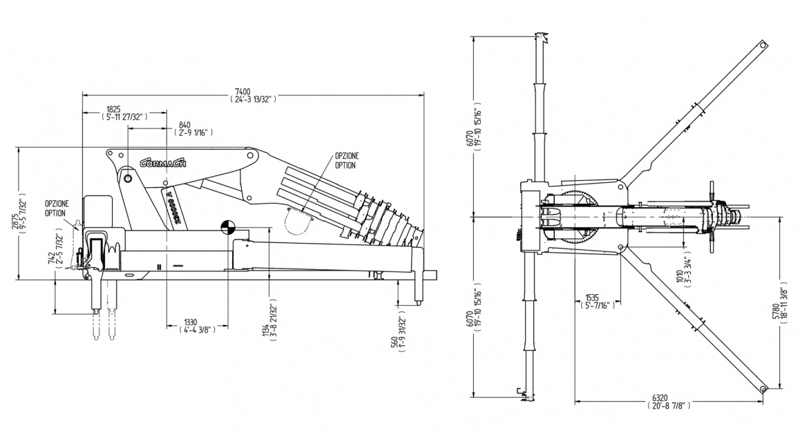
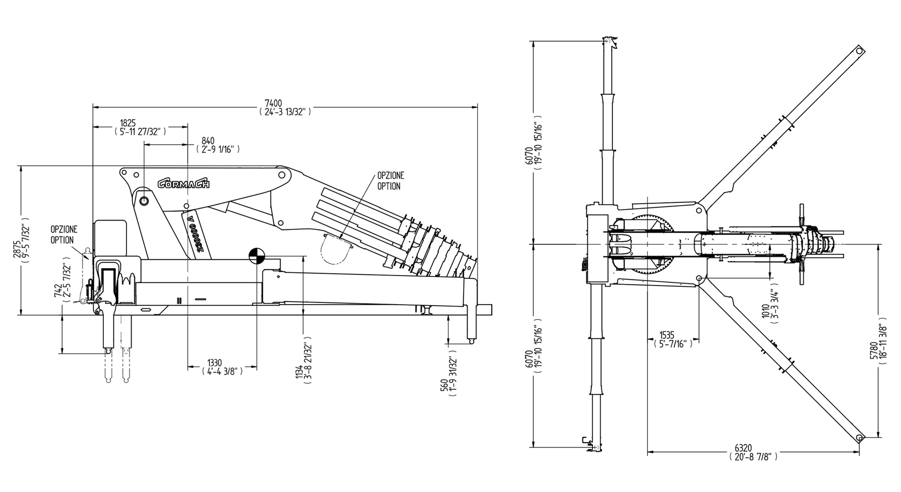
| Довжина | 7400 mm | 24'3" |
| Ширина | 2540 mm | 8'4" |
| Висота | 2875 mm | 9'5" |
| Маса (без оливи та комплектування) | 23110 kg | 50945 lbs |
| Вантажопідйомність | 33430 kg | 73701 lbs |
| Виліт із ручними подовжувачами | – | – |
| Крутний момент повороту | 22000 daN/m | 159157 lbs/ft |
| Винос стабілізаторів | 4921 + 4921 mm | 16'2" + 16'2" |
| Ширина стабілізаторів | 12140 mm | 39'10" |
| Продуктивність насоса | 115 l/min | 30 US gal/min |
| Тиск | 320 bar | 4550 psi |
| Об’єм бака | 640 l | 169 US gal |
Кран E7 – у стандартній комплектації:









Кран E7 – опціонально:








_x500.jpg)


_1158x.jpg)
.jpg)
Завантажте_x272.jpg)

_364x.jpg)
_364x.jpg)
_x272.jpg)
_364x.jpg)