Кран E3 – Інформаційний лист:
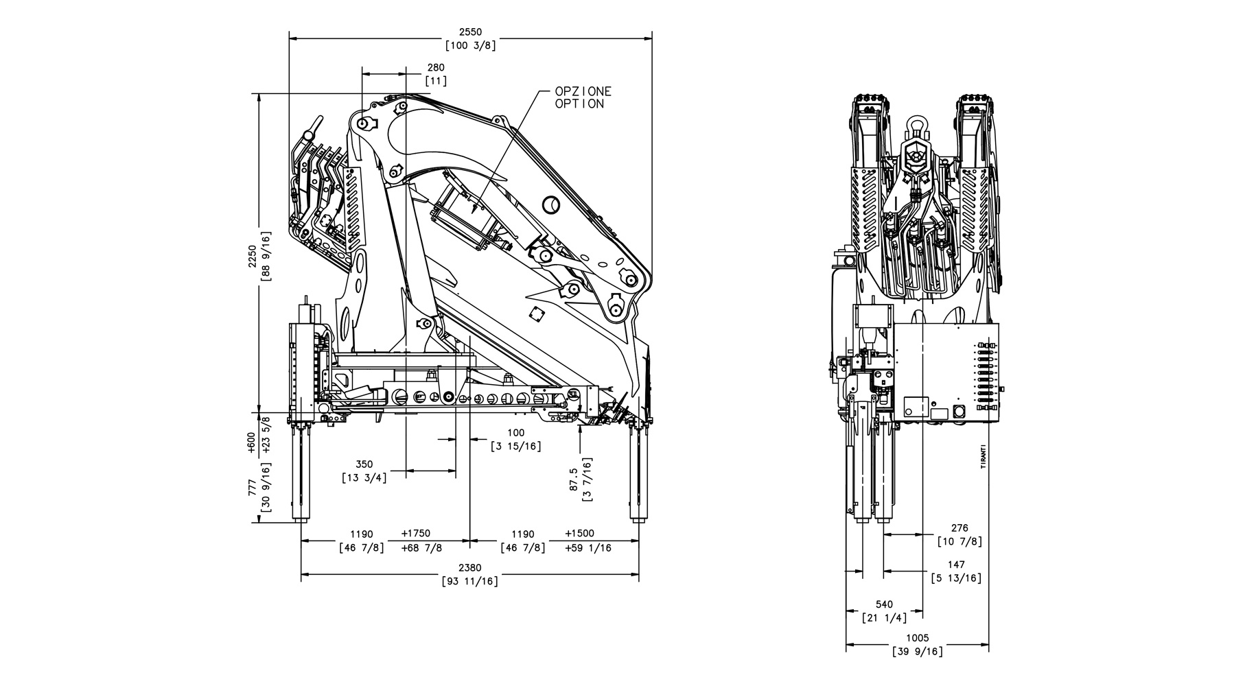
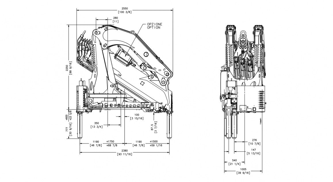
| Технічні характеристики | Метрична система | Імперська система |
|---|---|---|
| Статичний момент на осі обертання | 38700 daN/m | 279971 lbs/ft |
| Гідравлічний виліт | 1004 mm | 33' |
| Довжина | 1220 mm | 4' |
| Ширина | 2550 mm | 8'4" |
| Висота | 2250 mm | 7'5" |
| Маса (без оливи та комплектування) | 3650 kg | 8047 lbs |
| Вантажопідйомність | 7830 kg | 17262 lbs |
| Виліт із ручними подовжувачами | – | – |
| Крутний момент повороту | 3700 daN/m | 26767 lbs/ft |
| Винос стабілізаторів | 1500 + 1750 mm | 4'11" + 5'9" |
| Ширина стабілізаторів | 5630 mm | 18'6" |
| Продуктивність насоса | 60 l/min | 16 US gal/min |
| Тиск | 315 bar | 4479 psi |
| Об’єм бака | 160 l | 42 US gal |
Кран E3 – у стандартній комплектації:







Кран E3 – опціонально:
















_x500.jpg)
_x500.jpg)


_1158x.jpg)
.jpg)
Завантажте_x272.jpg)
_364x.jpg)
_364x.jpg)
_364x.jpg)
_364x.jpg)
_364x.jpg)
_364x.jpg)
_364x.jpg)
_x272.jpg)